为现代化智慧农业提供整站服务

便携式气象站,农业四情监测站,GNSS位移监测站,便携式水质检测仪生产销售厂家

全国服务热线:
19853697985
GNSS位移监测站
directory

产品目录

联系我们

山东万象环境科技有限公司

山东万象环境科技有限公司

联系人:周经理

服务热线:19853697985

客服QQ:3836021633

公司邮箱:3836021633@qq.com

总部地址:山东省潍坊高新区新城街道玉清社区光电路155号潍坊高新区光电产业加速器(一期)1号楼301

森林防火气象站

森林防火气象站

产品型号:WX-SL10

产品价格:电议

产品品牌:万象环境

发布时间:2023-08-21

森林防火气象站又称森林火险监测站,火险预警气象站,森林防火气象站可自动监测风向、风速、气温、湿度、雨量等,实时监测森林气象数据,为防火决策提供科学依据。
立即咨询

产品详情

一、森林防火气象站产品简介

      森林防火气象站又称森林火险监测站,火险预警气象站,森林防火气象站可自动监测风向、风速、气温、湿度、雨量等,实时监测森林气象数据,为防火决策提供科学依据。 

  森林火灾是森林生态系统的大敌,它能在很短时间内,烧毁大面积的森林和大量的林副产品,破坏林分结构和森林环境,破坏自然界生态平衡,造成气候失调,水土流失,河流淤塞,洪水泛滥或水源枯竭。通过监测容易发生森林火灾区域的风速风向、空气的温度、相对湿度、太阳辐射等气象因子,可以对预防森林大火的发生,在发生大火时也可以指导工作人员进行快速合理的灭火工作,使财产损失降到低点。  

  该设备由气象传感器,采集器,太阳能供电系统,立杆支架,云平台五部分组成。免调试,可快速布置,广泛运用于气象、农业、林业、环保、海洋、机场、港口、科学考察、校园教育等领域。  

  二、产品特点  

  1、低功耗采集器:静态功耗小于50uA  

  2、标配GPRS联网、支持扩展蓝牙、有线传输  

  3、7寸安卓触屏,版本:4.4.2、四核Cortex™-A7,512M/4G  

  4、支持modbus485传感器扩展  

  5、太阳能充电管理MPPT自动功率点跟踪  

  6、三米碳钢支架,两节法兰盘对接  

       7、配备声光报警器  

  8、人员靠近设备可声光喊话报警,可短信/电话云通知  

  9、ABS材质防护箱,耐腐蚀、抗氧化,防水等级IP66  

  三、技术参数  


名   称   

测量范围   

分 辨 率   

准 确 度   

环境温度   

-50~+100℃   

0.1℃   

±0.5℃   

相对湿度   

0~100%RH   

0.1%   

±3% RH   

风 向   

0~360°(16方向)   

1°   

±5°   

风 速   

0~60m/s   

0.1m/s   

±(0.3+0.03V)m/s   

雨  量   

≦4mm/min   

0.2mm   

±0.4mm   

光照强度  

0-200000Lux  

1Lux  

±2%  

大气压力   

10~1100hPa   

0.1hPa   

±0.3hPa   

土壤温度   

-50~+80℃   

0.1℃   

±0.5℃   

土壤湿度   

0~100%  

0.1%  

±3%RH   

二氧化碳  

0-5000PPM  

1PPM  

±40PPM±读数的3%  

可以根据用户需求拓展配置:日照时数、蒸发量传感器、露点温度传感器、紫外线辐射传感器、光合辐射传感器等各种气象要素传感器。
可加装LED显示屏(交流电供电),大小可调,实时采集到的气象数据及其他设定的信息。   

供电系统   

市电/太阳能/多电源供电系统可选  

通讯系统   

RS485、USB、无线GPRS、以太网等通讯方式   

专用支架   

安装防护箱、传感器、供电电源、通讯设备等   


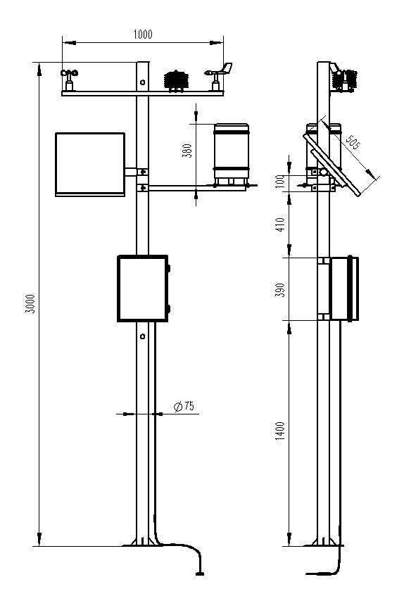
四、产品尺寸图


森林防火气象站    

五、产品结构图  

森林防火气象站   

六、上位机软件介绍  

  1、PC单机版数据接收、存储、查看、分析软件  

  2、支持串口数据接收、处理、展示  

  3、支持json字符串、modbus485等通信方式  

  4、可自设置存储时间,modbus485采集模式下可自设置采集时间  

  5、支持自助增加、删除、修改监测参数的协议、名称、图标等  

  6、支持数据后处理功能  

  7、支持外置运行javascript脚本  

  七、安卓APP介绍  

  1、安卓单机版数据接收、存储、查看、分析软件  

  2、支持蓝牙数据接收  

  3、手机休眠后软件后台接收、处理  

  4、json数据自动添加设备,modbus设备支持扫码添加设备  

  5、支持历史数据查看、分析、导出表格,支持曲线展示、单数据点查看。  

  6、支持数据后处理功能  

  7、支持外置运行javascript脚本  

  八、云平台介绍  

  1、CS架构软件平台,支持手机、PC浏览器直接观测、无需额外安装软件。  

  2、支持多帐号、多设备登录  

  3、支持实时数据展示与历史数据展示仪表板  

  4、云服务器、云数据存储,稳定可靠,易于扩展,负载均衡。  

  5、支持短信报警及阈值设置  

  6、支持地图显示、查看设备信息。  

  7、支持数据曲线分析  

  8、支持数据导出表格形式  

  9、支持数据转发,HJ-212协议,TCP转发,http协议等。  

  10、支持数据后处理功能  

  11、支持外置运行javascript脚本  

文章地址:http://www.wxhjz.cn/slqxz/196.html